Search by VIN
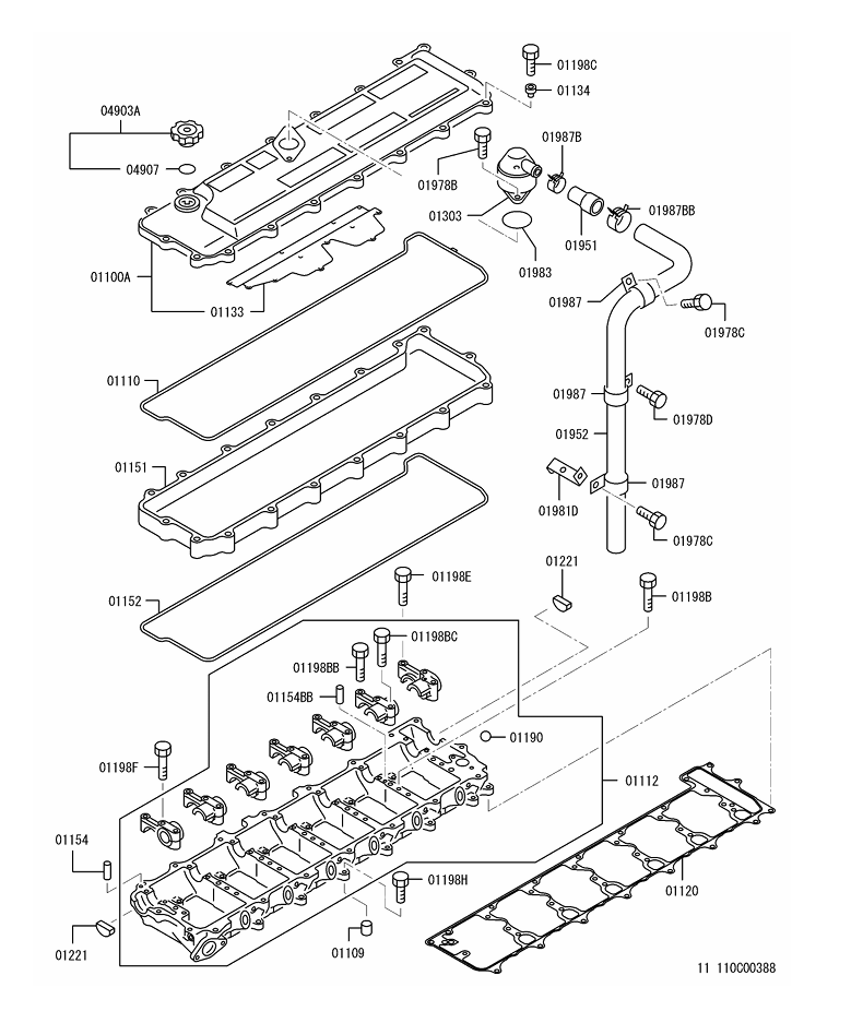
BOLT,ROCKER COVER
SEAL,ROCKER COVER BOLT
CAP ASSY,ENG OIL FILLER
CLIP,ENG BREATHER
GASKET,ENG OIL FILLER CAP
BOLT,ENG BREATHER
BREATHER,ENG
HOSE,ENG BREATHER
COVER ASSY,ROCKER
O-RING,ENG BREATHER
PLATE,ROCKER COVER OIL PARTITION
GASKET,ROCKER COVER
PIPE,ENG BREATHER
CASE,ROCKER,UPR
STAY,ENG BREATHER
SEAL,CYLINDER HEAD CAMSHAFT END
GASKET,ROCKER CASE,UPR
PIN,ROCKER COVER
BALL,ROCKER COVER
CASE,ROCKER
GASKET,ROCKER CASE
BUSHING,ROCKER COVER
Part berhasil ditambahkan ke Wishlist
PNC:
Part Number:
Part Name:
Stock
Year
Remarks
Substitute
Subtitute Parts:
Harga: