Search by VIN
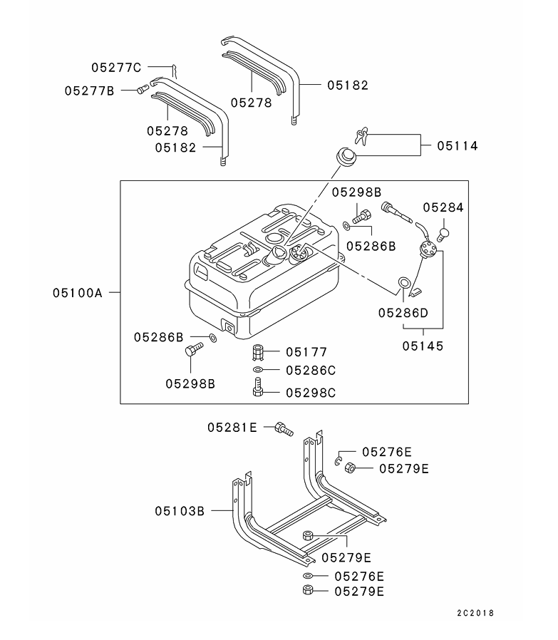
PIN,FUEL TANK SUPPORT
STRAP,FUEL TANK SUPPORT
CUSHION,FUEL TANK SUPPORT
CAP,FUEL TANK
PLUG,FUEL TANK
SCREW,FUEL TANK
GASKET,FUEL TANK
FUEL TANK ASSY
STRAINER,FUEL TANK
GAUGE UNIT,FUEL TANK
BOLT,FUEL TANK SUPPORT
WASHER,FUEL TANK SUPPORT
NUT,FUEL TANK SUPPORT
BRACKET,FUEL TANK
Part berhasil ditambahkan ke Wishlist
PNC:
Part Number:
Part Name:
Stock
Year
Remarks
Substitute
Subtitute Parts:
Harga: