FUSO Euro 2 - FN62FL HD (6x4) M/T (GT10)
Tahun
2021
Variant
FN62 FL HD (6 X 4)
13-420
FUEL RETURN HOSE
13-810
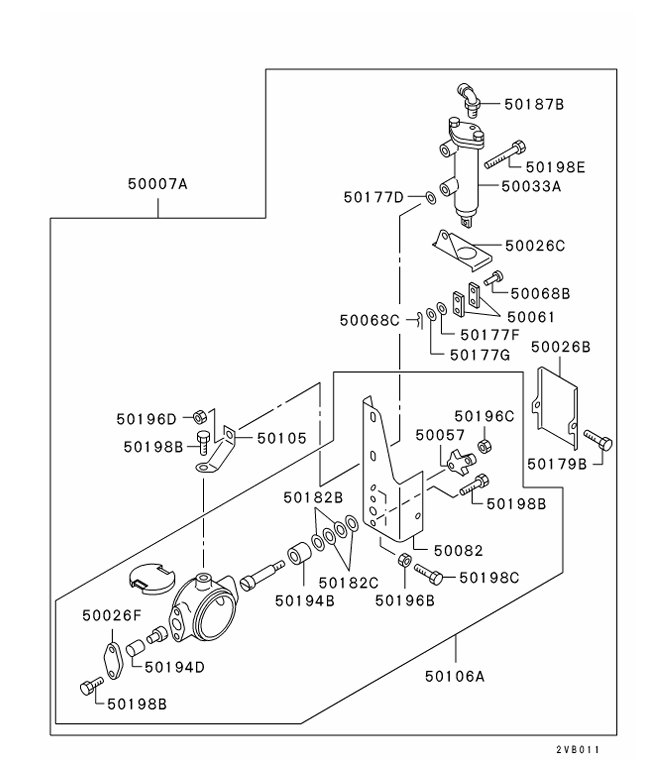
ENGINE CONTROL
14-010
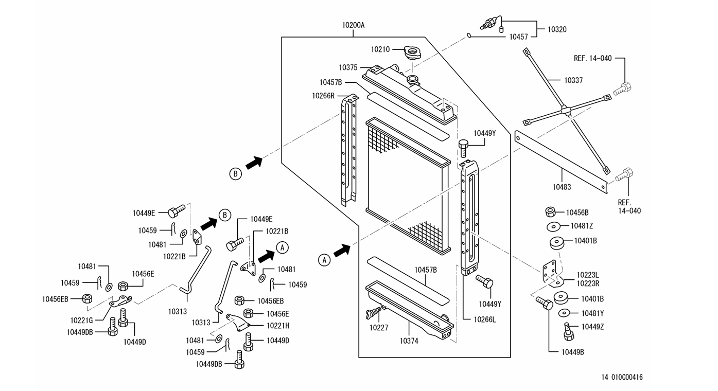
RADIATOR
14-030
RADIATOR HOSE & CONDENSER TANK
14-040
RADIATOR SUPPORT & SHROUD
14-110
WATER PUMP & FAN
14-120
WATER PIPE & THERMOSTAT
15-010
AIR CLEANER & INTAKE
15-520
TAIL PIPE & MUFFLER
15-510
EXHAUST PIPE
15-410
TURBOCHARGER
15-310
EXHAUST MANIFOLD
15-210
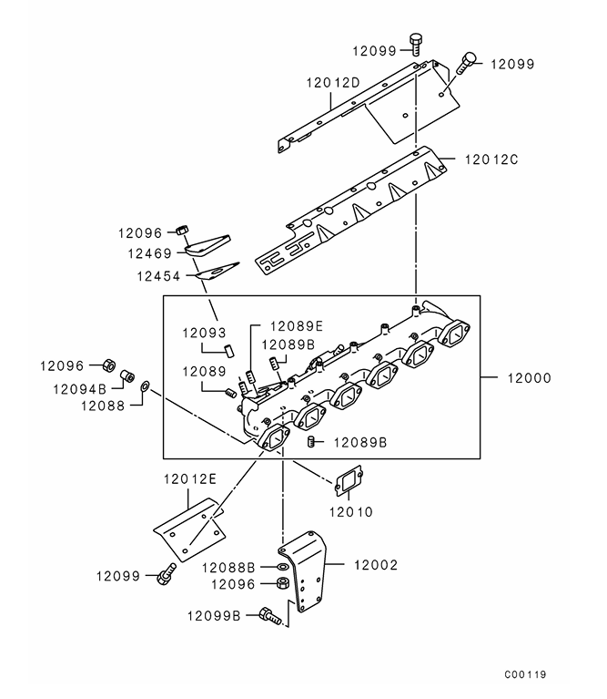
INLET MANIFOLD
15-110
INTER COOLER
16-510
ENGINE HARNESS
16-010
STARTER
16-310