Search by VIN
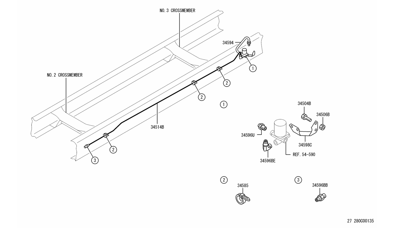
HOSE,INTER DIFF LOCK CONTROL LINE
BOLT,INTER DIFF LOCK CONTROL LINE
NUT,INTER DIFF LOCK CONTROL LINE
TUBE,INTER DIFF LOCK CONTROL AIR
JOINT,INTER DIFF LOCK CONTROL LINE
BRACKET,INTER DIFF LOCK CONTROL LINE
BAND,INTER DIFF LOCK CONTROL LINE
Part berhasil ditambahkan ke Wishlist
PNC:
Part Number:
Part Name:
Stock
Year
Remarks
Substitute
Subtitute Parts:
Harga: